Mag-email sa Amin

sdepochwater@hotmail.com

Balita

Ang mga katangian at pag -uuri ng mga balbula ng gate


Ang isang balbula ng gate, na kilala rin bilang isang balbula ng plate ng gate, ay isang balbula na ang pagbubukas at pagsasara ng bahagi ay isang plate ng gate, at kung saan ay hinihimok ng isang balbula ng balbula upang ilipat ang plate ng gate pataas at pababa.


Ang mga katangian ng mga balbula ng gate


1) Mga kalamangan ng mga balbula ng gate: mababang paglaban ng daloy ng likido; Ang metalikang kuwintas na kinakailangan para sa pagbubukas at pagsasara ay maliit. Ang direksyon ng daloy ng daluyan ay hindi pinigilan. Walang kababalaghan sa martilyo ng tubig kapag nagbubukas at magsara. Ang istraktura ng hugis ay medyo simple, at ang proseso ng pagmamanupaktura ay mas mahusay.


2) Mga Kakulangan ng Mga Valves ng Gate: Mayroon silang medyo malaking panlabas na sukat at taas ng pag -install, at nangangailangan ng isang malaking puwang sa pag -install. Sa panahon ng proseso ng pagbubukas at pagsasara, mayroong kamag -anak na alitan sa ibabaw ng sealing, na nagreresulta sa makabuluhang pagsusuot. Kahit na sa mataas na temperatura, madaling kapitan ng mga gasgas. Ang mga balbula ng gate ay karaniwang mayroong dalawang ibabaw ng sealing, na nagdaragdag ng ilang mga paghihirap sa pagproseso, paggiling at pagpapanatili.


Ang mga balbula ng gate ay may malawak na hanay ng mga aplikasyon. Karaniwan itong ginagamit para sa mga pipeline ng supply ng tubig na may nominal diameter ng DN50 o higit pa.



Pag -uuri ng mga balbula ng gate


Ang mga balbula ng gate ay maaaring maiuri sa pamamagitan ng mga pamamaraan ng koneksyon sa mga may sinulid na mga balbula ng gate, flanged gate valves at welded gate valves. Ayon sa mga tampok na istruktura, maaari silang nahahati sa kahanay na mga plato ng gate at mga plato ng gate ng wedge. Batay sa istraktura ng balbula ng balbula, maaari silang maiuri sa natatanging stem (nakakataas na stem) na mga balbula ng gate at nakatago na stem (umiikot na stem) na mga balbula ng gate.




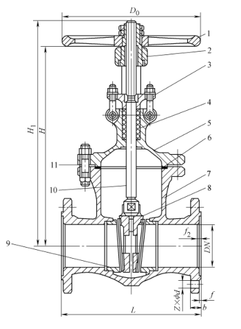
1) Buksan ang Stem Parallel Double Gate Valve: Ang bukas na stem parallel double gate valve ay ipinapakita sa Figure 1. Ang gate nito ay binubuo ng dalawang simetriko at kahanay na mga disc. Kapag bumaba ang gate, ang tuktok na wedge na nakalagay sa ilalim ng gate ay nagiging sanhi ng dalawang pintuan na palawakin ang panlabas at mahigpit na pindutin laban sa upuan ng balbula, sa gayon ay mahigpit na isinasara ang balbula. Kapag tumataas ang gate, ang mga wedge ay nag -disengage mula sa disc. Kapag ang disc ay tumataas sa isang tiyak na taas, ang kalso ay itinaas ng mga protrusions sa disc at tumataas kasama ang gate. Ang balbula na ito ay may isang simpleng istraktura. Ang pagproseso, paggiling at pagpapanatili ng ibabaw ng sealing nito ay lahat ay mas simple kaysa sa mga balbula ng gate ng wedge. Gayunpaman, ang pagganap ng sealing nito ay medyo mahirap. Ito ay angkop para sa media na may presyon na hindi hihigit sa 1.0MPa at isang temperatura na hindi hihigit sa 200 ℃.



Larawan 1: tumataas na stem parallel double gate valve


1. Handwheel 2- Valve Stem Nut 3- Valve Stem 4 - Packing Gland 5 - Packing 6 - Valve Cover

7 - Gasket 8 - Sealing Ring 9- Valve Body 10- Gate 11 - Nangungunang Wedge


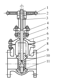
2) Nakatagong Stem Wedge Gate Valve: Tulad ng ipinapakita sa Figure 2, ang ibabaw ng sealing ng balbula na ito ay may hilig at bumubuo ng isang anggulo. Ang mas mataas na temperatura ng daluyan, mas malaki ang anggulo. Ang mga plato ng gate ng wedge ay inuri sa mga solong plato ng gate, dobleng mga plato ng gate at nababanat na mga plato ng gate, tulad ng ipinapakita sa Mga figure 2A, B at C ayon sa pagkakabanggit. Ang pagproseso, paggiling at pagpapanatili ng mga plato ng gate ng wedge ay mas kumplikado kaysa sa mga kahanay na mga plato ng gate, ngunit mayroon silang mas mahusay na pagganap ng pagbubuklod.


Larawan 2 Nakatago ang balbula ng gate ng gate ng stem


A) Wedge Single Gate Plate B) Wedge Double Gate Plate C) Wedge Elastic Gate Plate


1. Handwheel 2. Indicator 3. Takpan ang 4. Puno ng Box 5. Packing 6. Cover ng Valve

7- Valve Stem 8 - Valve Stem Nut 9, 12 - Sealing Ring 10 - Valve Body 11 - Gate Plate 13 - Gasket


Ang nababanat na balbula ng gate ay ipinapakita sa Larawan 3. Mayroon itong mga pakinabang ng simpleng istraktura at maaasahang paggamit, at maaaring makagawa ng isang maliit na nababanat na pagpapapangit, na pinatataas ang higpit ng pagsasara.



Larawan 3 nababanat na balbula ng gate


1. Handwheel 2- Valve Stem Nut 3 - Packing Gland 4 - Packing 5 - Valve Cover 6 - Gasket

7- Valve Body 8 Gate Plate 9 - Sealing Ring 10 - Valve Stem 11 - Pagkonekta ng Bolt


Sa isang tumataas na balbula ng gate ng tangkay, ang thread ng stem ng balbula ay umaangkop sa isang manggas na may gamit na handwheel. Ang mas mababang dulo ng stem ng balbula ay may isang parisukat na ulo, na naka -embed sa plate ng gate. Kapag nakabukas ang handwheel, ang balbula ng balbula at ang gate plate ay umakyat at pababa. Kapag nagbubukas, ang stem ng balbula ay umaabot sa handwheel. Ang kalamangan ay ang pagbubukas ng antas ng balbula ay maaaring hatulan mula sa pinalawig na haba ng stem ng balbula, at ang stem ng balbula ay hindi direktang nakikipag -ugnay sa ipinadala na daluyan. Ang disbentaha ay ang balbula ay may malaking taas ng pagbubukas, at ang site ng pag -install ay dapat magkaroon ng sapat na puwang para sa stem ng balbula upang mapalawak sa labas. Kapag nag -install sa site, siguraduhing bigyang pansin ang puntong ito. Ang panlabas na thread ng balbula ng balbula ng nakatagong balbula ng gate ng stem ay umaangkop sa panloob na thread na naka -embed sa balbula. Samakatuwid, kapag nakabukas ang handwheel, ang balbula ng balbula ay umiikot, na nagiging sanhi ng gate sa loob ng balbula na umakyat pataas at pababa, ngunit ang stem ng balbula ay hindi maaaring umakyat at pababa. Ang nakatagong balbula ng gate ng stem ay tumatagal ng mas kaunting puwang sa panahon ng pag -install. Ang ipinadala na daluyan ay nasa direktang pakikipag -ugnay sa balbula ng balbula, at ang pagbubukas ng antas ng balbula ay hindi maaaring hatulan sa pamamagitan ng balbula ng balbula. Kung ito ay isang tumataas na balbula ng gate ng stem o isang non-rising stem gate valve, ang gate valve ay dapat na mai-install nang pahalang. Ang stem ng balbula ay dapat na patayo pataas at hindi hilig. Mahigpit na ipinagbabawal na i -install ang balbula ng balbula pababa.



Mga Kaugnay na Balita
Mag-iwan ako ng mensahe
X
Gumagamit kami ng cookies para mag-alok sa iyo ng mas magandang karanasan sa pagba-browse, pag-aralan ang trapiko sa site at i-personalize ang content. Sa paggamit ng site na ito, sumasang-ayon ka sa aming paggamit ng cookies. Patakaran sa Privacy
Tanggihan Tanggapin